Perpetuum Mobile - Konzepte IV

Parallele Gedanken

Ist Ihnen schon aufgefallen, daß sich manche Ideen zum Bau eines Perpetuum Mobile beharrlich wiederholen bzw. im neuen Gewande immer wieder aufgebracht werden? Eine Ursache dafür könnte sein, daß eine neu entdeckte Kraftquelle in der ersten Euphorie zu Hoffnungen führt, die sich nicht erfüllen lassen. Nehmen wir als Beispiel ein "Auftriebs"-Perpetuum Mobile.

     So sieht das klassische hydraulische Auftriebs-Perpetuum Mobile aus. Ein einseitig in einen Flüssigkeitstank getauchtes Rad soll durch die Auftriebskraft beständig in Drehung versetzt werden. Die seitlichen Eintrittsöffnungen des Rades in den Tank sind mit geeigneten Dichtungen versehen, damit das Wasser nicht herausrinnen kann.
     Man kann ein solches Gerät auch mit der Hilfe eines oder mehrerer Magnete bauen. In diesem Beispiel soll eine Eisenkette durch einen Magneten angetrieben werden.
     Otto von Guerickes Versuche mit der Reibungselektrizität, die durch eine rotierende Schwefelkugel erzeugt wurde, diente als Inspiration für diese Maschine. Eine isolierende Kugel wird durch die Abstoßung gleichnamiger Ladungen in Drehung versetzt.
     Letzlich kann auch ein Material, das es gar nicht gibt, als Kraftquelle dienen. Herbert George Wells erfand in seinem Roman "The first Men on the Moon" das Cavorit, mit dem sich nach Belieben die Schwerkraft abschirmen läßt. Kevin Kilty erfand damit zum Spaß ein Gravitations-Perpetuum Mobile.

Was an all diesen Entwürfen auffallen sollte: sie sind genau genommen nur Variantenkonstruktionen desselben Grundgedankens. Die Kraftquelle und die beteiligten Materialien wandeln sich, aber in allen Fällen wird die einseitig angreifende Kraftwirkung falsch eingeschätzt.

Das Rad - heute wieder neu erfunden!

Wenn man die einschlägigen Patentschriften(!) studiert, so beschleicht einen der Gedanke, daß der technische Fortschritt in fast allen Bereichen stattfindet. Nur auf dem Gebiet des Perpetuum Mobile bleibt er aus. Kein Monat vergeht, in dem nicht irgendein Erfinder sein geistiges Kind der Öffentlichkeit vorstellt. Und dieses Kind ist ein Geschwisterchen zu all' den hunderten anderer Kinder, die in der Vergangenheit geboren wurden. Sie haben manches gemeinsam: sie funktionieren alle aus banalen Gründen nicht und ihre geistigen Väter sind überzeugt, die Erfinder eines Perpetuum Mobile zu sein.

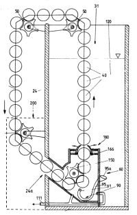
Aus meinem Archiv eine kleine Auswahl aus mehreren hundert Entwürfen von Auftriebsmaschinen des Prinzips, das aus einer endlosen Kette mit Schwimmern besteht::

Jové, 1867
Großbritannien Pat. Nr. 42/1867

Guillaume, 1928
Belgien Pat. Nr. 359840

Levévre 1932
Belgien Pat. Nr. 387150

     

Blain, 1979
Kamerun Pat. Nr. OA6413

Ritscher 1985
Deutschland Pat. Nr. 8510493U

Smeretchanski, 2003
Frankreich Pat. Nr. 1828716

Es wäre müßig, Appararate anzuführen, die auf anderen Prinzipien basieren, aber untereinander ebenfalls technisch ähnlich sind. Arabische Räder, Permanentmagnet-Motoren oder Rezirkulationsmühlen sind nicht minder zahlreich vertreten.

Hypothetische Techniken

Mit ein wenig Phantasie kann man die Grenzen der Physik und Technik mühelos sprengen. Nicht nur seriöse Erfinder, sondern auch Science-Fiction-Autoren und ihre Vorläufer wie Wells oder Verne habe sich als Visionäre einer Zukunft erwiesen. Stellen wir uns vor, daß nicht nur das vorhin erwähnte Material Cavorit möglich sei, sondern auch eine Zeitmaschine! Mit einer Zeitmaschine kann man ein hübsches Perpetuum Mobile bauen, vorausgesetzt, unser Ziel ist die Erschaffung von Energie. Und das geht so:

Eine Zeitmaschine mit einem größeren Laderaum wird mit Briketts beladen. Nehmen wir an, Be- und Entladen dauert insgesamt 10 Minuten. Die Lademenge ist 1000kg. Wir benötigen dazu noch einen größeren Lagerplatz, von dem aus wir unsere Reise in die Vergangenheit starten. Die Reise geht 100 Minuten zurück. Wir entladen und kehren in die Gegenwart zurück. An der Entladestelle finden wir unseren Briketthaufen wieder vor. Das ist ein Verlustgeschäft, denn den Treibstoff für unsere Zeitmaschine müssen wir trotzdem bezahlen. Anders sieht die Sache aus, wenn wir 10 Minuten in die Vergangenheit fahren, unseren Briketthaufen in die Gegenwart transportieren und wieder ausladen. Das können wir rückwärtsschreitend im 10-Minuten-Raster machen, so daß wir mit einem Ergebnis von 10000kg Briketts enden. Fazit: Aus 1 Tonne Brennstoff 10 Tonnen erzeugt. Wie so etwas physikalisch möglich ist, und dennoch nicht gegen die Hauptsätze der Thermodynamik verstößt, wird in Kürze in der Rubrik Temporalistik zu lesen sein.

weiter im Text


Stand: 27.01.2004 /
 HPs Home      Perpetuum/Home